4月14日,科技媒体 Network Right 发布博文,基于三星最新获批的专利,渲染展示了第二代三折叠手机,上市后可能被命名为 Galaxy Z TriFold Wide。

根据专利渲染图,Galaxy Z TriFold Wide 的核心亮点在于采用阔折叠方案,在保留双铰链三屏幕方案同时,展开后形态接近紧凑型平板,折叠时外侧保留副屏并搭载三摄模组。
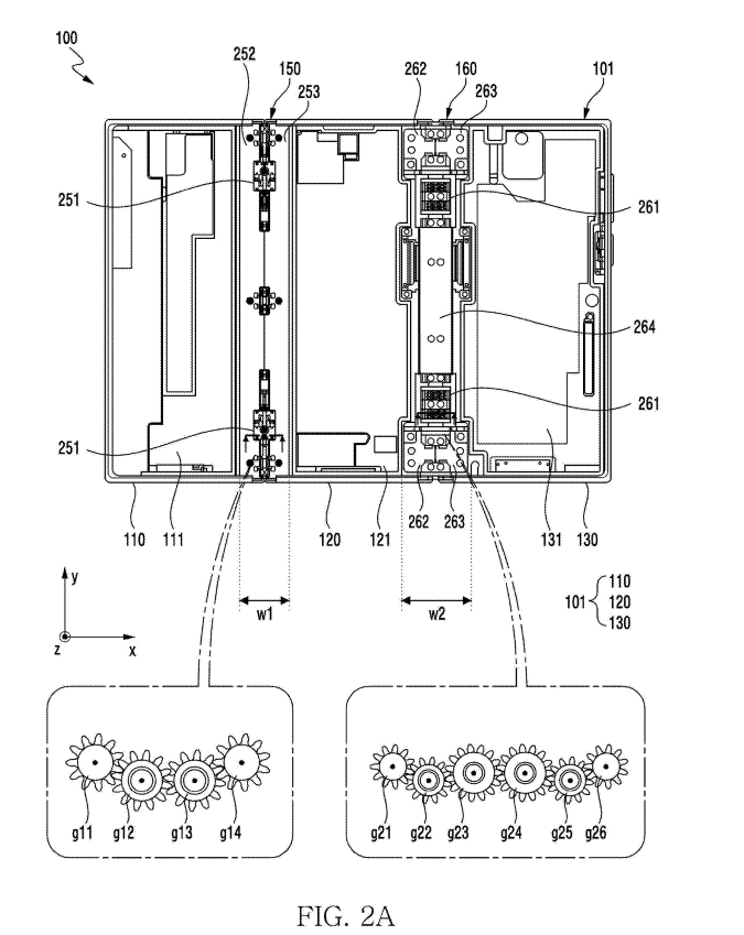
根据专利描述,三星为了降低三折叠设备的机身厚度,围绕着轻量化与超薄目标,设计了全新的铰链方案。专利图如下:




在折叠状态下,设备呈现堆叠形态,其中一部分屏幕外露作为主副屏使用,背部则安置了三摄像头模组。机身侧面配有物理按键,厚实的边框结构为多角度折叠提供了稳固支撑。
该设计还引入了独特的帐篷模式,针对特殊使用场景,设备可呈三角形独立站立,适用于视频播放、小组件展示或作为迷你桌面显示器使用。
来源:IT之家、Network Right



|
|
|
|
|
|
|
|
|
|
|
|
|
|
|
|
|
|
|
|
|
|
|
|
|
|
|
|
|
|
|
|
|
|
|
|
|
|
|
|
|
|
|
|
|
|
|
|
|
|
|
|
|
|
|
|
|
二、报名方式
报名方式1:加微信并发名片报名
艾果果13312917301(同微信)
ab008@aibang.com;

注意:每位参会者均需要提供信息;
Mickey 18320865613(同微信)
ab035@aibang.com;


点击阅读原文,即可报名

点击阅读原文,即可报名

微信扫描下方的二维码阅读本文


